| Accueil >> Varia >> Trousse du célibataire

Le Polochon

Polochon sur cabrouet.
Polochon sur cabrouet.

Polochon suspendu à un seul point d'accrochage par la «pieuvre» (comme sur un arbre, en camping).
Polochon suspendu à un seul point d'accrochage par la «pieuvre» (comme sur un arbre, en camping).

Polochon accroché dans l'armoire du litout.
Polochon accroché dans l'armoire du litout.

1) Introduction

Comment appeler cette chose? En anglais, le terme le plus approchant serait «duffle bag», ce qui donne en français «sac à fourbi», ou «sac de marin», ou «sac de paquetage», etc. Je préfère «polochon» (Petit Robert: «sac de voyage cylindrique et souple»), qui est un seul mot, sonore, moins commun donc mieux adapté à une nouvelle signification.

2) Exigences

Le polochon doit:

- contenir facilement tout l'équipement pour camper;
- être transportable comme un sac-à-dos pour de brèves distances. Si accroché à une armature exerne de havresac, transportable comme un sac-à-dos pour des distances plus considérables. (Mais pour bien comprendre cette exigence, il faut plutôt s'imaginer les coureurs des bois qui font du portage avec leur canot en écorce. Le canot est transportable «comme un sac-à-dos», mais en temps normal ce n'est pas comme ça qu'on s'en sert.);
- être transportable sur un cabrouet (lui-même accroché ou pas à un vélo de montagne);
- servir de commode en camping, donc être facilement accrochable à un point élevé (arbre, clou dans mur de grange, etc.), pour être à la bonne hauteur mais aussi pour éloigner l'équipement de l'eau et la saleté qui sont sur le sol;
- servir de commode en temps normal (à la maison, pas en camping). Un des buts de cette exigence est de pouvoir acquérir des automatismes (savoir où tout se trouve, même dans le noir) qui resteront valides à la maison ou en camping, et aussi pour faciliter la vieillesse lorsqu'on commence à perdre la mémoire.

3) Quelques idées pour la conception

Justification: J'ai eu plusieurs sac-à-dos coûteux et de bonne qualité (armature externe, armature interne). Leurs défauts communs et dirimants: (1) je m'en sers à peu près jamais (donc ils ne doivent pas être bien adaptés à mes besoins!); (2) ils ne sont pas capables de contenir tout mon équipement de camping; (3) j'éprouve beaucoup de difficulté à les transporter.

L'union fait la force, même pour l'équipement de camping. Un vélo, un havresac et un cabrouet ne sont pas la même chose qu'une équipe composée d'un cabrouet qui peut s'accrocher au vélo où à la ceinture rembourrée portée aux hanches, et qui peut se plier et se porter comme un havresac, et un polochon qui peut se porter lui aussi comme havresac (quoi que très inconfortablement), ou se brancher au cabrouet, et aussi s'accrocher et servir de commode 100% du temps (à la maison ou en camping).

Dimensions? D'abord, quelques dimensions utiles:

- Sac de marin de la MEC: ~35x15x15";
- mon ancien havresac à armature externe, pleinement chargé: ~38x11x17;
- hauteur de l'armoire du litout: 48";
- largeur de l'actuel cabrouet: 21.75"

De plus, à cause de la nature d'un contenant en toile qui tend à prendre la forme d'une saucisse, la largeur et la profondeur devraient être égales. Cela donne, au pif, des dimensions de 41x17x17". Après avoir construit un prototype et fait quelques tests, ces dimensions sont correctes. (Éventuellement, il ne serait pas mauvais d'arrondir ces dimensions de 43.18x104.14cm à 44x105cm, mais rien d'urgent.)

Imperméable? Aucune tentative de rendre le polochon à l'épreuve de l'eau: (1) il sert surtout à protéger de l'abrasion, et laisse les sous-contenants qu'il contient bloquer l'eau; (2) certaines choses n'ont pas besoin d'être protégées contre l'eau (comme le matelas gonflable); (3) mieux vaut avoir plusieurs petits contenant à l'épreuve de l'eau, comme ça si un se perce, les autres restent intacts; etc.

Étagères: Quatre étagères amovibles en contreplaqué. Si on doit voyager en avion, on jette les étagères et on en recoupe d'autres rendu à destination (pas trop cher ou compliqué). Mais en temps normal, elles transforment complètement le polochon: un gros sac informe qui nuit à l'accès de son contenu, il devient accrochable en hauteur et présente les objets qu'il contient presque aussi bien qu'une commode.

Position des étagères: une très solide complètement en haut, pour donner la forme de commode au polochon lorsqu'il est suspendu. C'est la plus importante. Une ou deux en haut (probablement ~7" de hauteur) pour les objets petits et fréquemment utilisés. Plus on va vers le bas du polochon, plus les objets deviennent gros (comme la grosse saucisse qui contient le matelas gonflable, le drap intégré, et le sac-de-couchage roulé), donc moins besoin d'étagères. Complètement en bas (le «plancher»), il est bon d'en avoir une autre, pour maintenir la forme du polochon, éviter qu'il touche par terre, et aussi pour transférer tout le poids des objets aux quatre sangles verticales (et non pas aux coutures du tissu; c'est pourquoi même si cette étagère de plancher semble ne pas avoir besoin d'être accrochée aux sangles, elle doit l'être).

Rebord descendant de l'étagère du haut: Il ne faut pas que l'ouverture du devant du polochon laisse voir l'étagère du haut, car lorsqu'on accroche le polochon au mur, ça «retrousse», et le zip devient impossible à bouger. Faire «descendre» le plafond d'un seul pouce vers le bas, sur le devant, est une très grande amélioration: l'étagère du haut vient s'insérer à serre dans le haut du polochon, sans exercer de pression sur le zip. (Voir photo ci-bas.) Pour le prototype, je n'avais pas cela, alors je devais visser l'étagère du haut pour éviter qu'elle se promène trop. Maintenant je prend des «zap-straps» partout. Par contre, il ne semble pas nécessaire de faire la même chose pour les côtés: même sans faire un petit «tournant» vers le devant, les zips vont très bien.

Rebord descendant de l'étagère du haut, et tournant du zip.
Rebord descendant de l'étagère du haut, et tournant du zip.

Courroies de nylon verticales: Quatre courroies de nylon de 1", qui partent des 4 boucles d'accrochage du haut et qui descendent jusqu'au «plancher», donnent une grande solidité à la «commode». Par contre, essayer de faire une armature complète en courroies (en d'autres mots, une sorte de filet qui viendrait tenir toute la toile) me semble exagéré. La toile est là pour contenir le contenu, pas pour la décoration.

Position des 4 courroies de nylon verticales: j'ai commencé par les mettre à l'intérieur du polochon, pour faciliter la construction des boucles d'étagère amovibles. Mais c'était très long à coudre, et interférait avec la construction du sac de toile. En les mettant à l'extérieur, les très importantes 4 boucles de suspension sont faciles à coudre et robustes, mais on peut aussi coudre des petites boucles d'étagère à l'intérieur (pour 4 étagères seulement), et ne pas les coudre en continu, ce qui laisse de la place pour passer de la paracorde pour fermer le polochon si jamais les zips se brisent.

Longueur des zips: J'ai de la misère à trouver des longs, gros zips. Mais le contenu du bas du polochon a tendance à être gros (donc facile à rejoindre), donc il n'est pas nécessaire d'avoir des zips qui vont jusqu'au plancher. Il faut deux gros zips qui tournent et se rejoignent au centre du «toit», et qui vont aussi bas que possible, mais tant pis s'ils s'arrêtent avant d'arriver au plancher. (En ce moment, ils arrêtent sans problème à 14" du plancher.)

Tournant du haut pour zips: C'est plus compliqué à couper et à coudre, mais de faire un tournant plus graduel pour le zip (2.5" de rayon de courbure) facilite grandement les mouvements des zips. Le prototype tournait carré, ce qui ne fonctionnait pas bien. Aussi, attention de dessiner cette courbe en aboutissant à la ligne de couture, pas à la ligne de coupe.

Détail du devant du plafond, avec tournant pour haut des zips.
Détail du devant du plafond, avec tournant pour haut des zips.

«Pieuvre» (ce qui permet d'accrocher le polochon à un arbre ou un mur de grange, etc.) J'ai pensé mettre 4 crochets au bout des 4 cordes, et effectivement, la pieuvre est alors facile et rapide à enlever (pour par exemple mettre le polochon dans la soute à baggages d'un avion). Mais si les crochets sont intégrés à la pieuvre, on ne peut pas se servir de ces crochets lorsque le polochon est accroché dans le litout. Si on évite totalement les crochets pour accrocher la pieuvre au polochon, c'est léger, mais fastidieux à enfiler et désenfiler. Le mousqueton de la MEC est gros, mais remarquablement léger comparé aux autres solutions disponibles.

Connection entre étagère du haut et la «pieuvre». J'ai pensé à un moment donné faire une sorte de harnais en sangles noires très compliqué pour tenir l'étagère du haut malgré les contraintes de la «pieuvre» qui tire tout vers le crochet. Mais primo, si le contreplaqué ne peut pas résister à cette contrainte, on peut prendre un contreplaqué plus épais. Secundo, avec le rebord descendant de l'étagère du haut, l'étagère du haut à moins tendance à se promener quand on accroche le polochon avec la pieuvre. Tertio, si on n'accroche jamais le polochon au mur avec la pieuvre, ce harnais est inutile.

Crochets de la pieuvre. Voir Section 5 ci-bas.

Largeur de l'interlaize. J'ai eu peur d'avoir seulement 0.5" pour l'interlaize, avec un tissu si épais, mais finalement ça a très bien été.

Empaquetage précis et rapide: J'aimerais bien que le polochon ait l'avantage des vieilles boîtes à outils plates et pliantes en contreplaqué: chaque outil avait sa place, et était visible d'un coup d'oeil («profondeur d'empaquetage» de 1), donc en ouvrant notre boîte, on voyait s'il on avait oublié un outil. Si le polochon incorporait un peu de ça, il faciliterait l'empaquetage d'urgence (sorte de «véliste» («checklist» en anglais) en toile!).

Barrure: Même si la barrure n'empêche pas grand monde d'entrer par effraction, tout-de-même, avoir la possibilité de barrer les deux zips, lorsqu'ils sont en haut de leur course, est intéressante.

Test de chargement. J'ai chargé le prototype avec presque tous les objets de la liste «Camping». Quelques impressions:

- Mon Dieu que ça prend du temps et de l'énergie à remplir! Juste pour remplir le polochon dans des conditions idéales (lumière d'une belle journée ensoleillée, au chaud, au sec, dans la propreté parfaite, avec un beau plancher et un établi, sans aucune pression de temps, etc.), j'ai pris plus d'une heure et demi...

- Le sac-de-couchage, le parka et le matelas sont très volumineux, et il faut se battre pour faire entrer ça dans les petits sacs. Et une fois dans les sacs, un petit compteur se met à faire «tic-tac», car il ne faut pas entreposer ces objets comprimés...

- Mon Dieu que c'est gros! Mon Dieu que c'est lourd! (30 kilogrammes!) Et je n'avais aucune eau (et l'eau est essentielle, et très lourde), pas de nourriture, pas de carabine et de munitions, pas d'ordinateur...

- Je n'ai pas été capable de le soulever et de l'accrocher au mur. J'ai dû m'aider de la chaise à roulettes!

- Je pensais avoir trop de petits sacs en filet, mais je pense que je n'en ai pas assez! Quand on met tout dans le polochon, on a soudainement besoin de «sous-sacs» pour organiser. De plus, trop peu de ces «sous-sacs» étaient imperméables, donc à la pluie j'aurais eu des problèmes.

- Les poignées d'extrémité sont très utiles!

- Si j'avais fait cet exercice d'empaquetage ailleurs que dans des conditions idéales, j'aurais voulu pouvoir mettre une bâche par terre pour ne pas salir et mouiller les objets en les empaquetant.

- Une fois rendu sur le cabrouet, tout change. L'ancre de bâteau se transforme en sac de voyage!

- Les étagères de contreplaqué ne semblent pas si terribles que ça à trimballer, et elles aident sûrement à conserver une forme normale au polochon, et à le rendre facile à transporter sur le cabrouet.


Vue générale du polochon.
Vue générale du polochon.

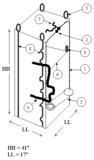
1) Les deux zips.

2) Les deux zips tournent et se rejoignent au centre.

3) La grosse languette qui ferme le devant du polochon est normalement roulée au bas.

4) Étagère (en fait, il y en a 4).

5) Boucles d'élingue aux 4 coins. Ils sont soit directement accrochés à 4 crochets au toit de l'armoire du litout, soit accrochés à une sorte de harnais «4-en-1» (ou «pieuvre») qui s'accroche à une branche d'arbre ou un clou planté dans un mur de grange, etc. Le trou de ces boucles est orienté vers l'avant, alors avec des crochets bien conçus, tout le polochon peut être tiré hors de l'armoire du litout en un mouvement.

Ces mêmes boucles peuvent aussi contenir des crochets, alors en mode grange, on peut accrocher le polochon, mettre sa lampe frontale, et commencer à enlever son manteau et l'accrocher, ensuite enlever ses mitaines, et les accrocher, sortir sa trousse de premiers soins et l'accrocher, etc. (Cela facilite grandement l'organisation et la propreté en camping.)

6) Deux grosses courroies non-amovibles utilisables comme courroies de havresac en cas d'urgence, ou pour transporter le polochon comme une grosse valise. Elles sont non-amovibles pour qu'elles soient là en cas d'urgence! Les deux bouts cousus sont à environ 33 et 66% de la longueur.

7) Poignées d'extrémité, pour sortir le polochon d'un coffre de voiture, etc. Elles sont situées plutôt vers le dessus, pour être rejoignables lorsque le polochon est dans la cale d'un bateau, etc. Pourraient aussi servir à accrocher une grosse courroie d'épaule, même si je n'ai pas l'intention de m'en servir ainsi.

8) Les boucles d'élingue au N° 5 sont faits de courroie qui va jusqu'en bas. D'abord, cela permet de fixer à l'intérieur (en cousant au travers de la mince paroi de tissu) les boucles d'étagère. Ensuite, en interrompant la couture de ces courroies à intervalles régulières, on permet d'enfiler de la paracorde pour fermer le devant du polochon, advenant un bris des zips. (Remarquez que seule la courroie près du zip est cousue ainsi.)

9) Boucle d'étagère.

4) Confection

J'ai terminé ce polochon le 2012-mars-16. Je n'avais pas cousu depuis des années, et j'ai eu beaucoup de misère avec le moteur de la Mitsubishi (industriel à embrayage; donc soit il est éteint, soit il tourne à une vitesse effrayante), alors ça m'a pris un gros jour et demi de travail acharné.

4.1) Liste de matériaux

- 2 verges de tissu synthétique corduroy ~30$/m. (MEC décrit son tissu comme du nylon «370g 1000-denier». Dial Textile: largeur du tissu ~60", même si ~63" en théorie, car bords très mauvaise qualité.)
- 2 zips les plus gros et longs que tu peux trouver. ~9$ chaque. (MEC dit: #10 YKK zippers. Dial-Textile n'a que des #10 Coud-bec 36" séparables. On me dit que ça s'achète au mètre aussi.)
- 8 mètres de courroie d'accessoire noire 1". (MEC #407-015 1" flat Access web 1$/m. Attention! la sangle de MEC est tissée beaucoup plus serrée que celle de Dial Textile).
- 3 mètres de courroie d'accessoire noire 2". (MEC #407-031 2" flat web 2.10$/m.)
- bon fil à coudre solide. (Réjean avait du "Bonded nylon", qu'il disait "grosseur 120". Il dit qu'on peut en trouver chez Chabot et Graham.)
- aiguilles: (Celles de Réjean pour sa Mitsubishi walking foot industrielle était 135x17 #21. Poser avec grande rainure à gauche, dégagement à droite.)

4.2) Étapes

1 - Pitié! Évite de refaire encore et toujours les mêmes erreurs! Va relire soigneusement le peu que tu est supposé savoir déjà: Quelques conseils de couture.

2 - Obtenir les matériaux.

3 - Couper le tissu selon l'image ci-bas:

Découpage du tissu.
Découpage du tissu.

4 - Dans notre cas, pas besoin de brûler les bords du tissu synthétique, car il a un genre de couche de colle à l'arrière. Sinon, ça serait peut-être une bonne idée. Par contre, dès qu'on coupe une sangle noire, c'est une bonne idée de faire fondre le bout pour éviter l'effilochage.

5 - Marquer le «corps» selon l'image ci-bas:

- Position des 4 courroies verticales (sinon il est difficile de coudre bien droit une fois dans le feu de l'action). Laisser bien sûr un bord d'espacement autant horizontalement que verticalement.
- Position des boucles d'étagère. On commence à compter d'un bord du haut, puis à chaque 7". L'intervalle entre l'avant-dernière boucle d'étagère et le plancher n'est pas tout-à-fait 7". Il faut faire ces marques pour les 4 courroies à l'intérieur, mais aussi à l'extérieur pour les 2 de ces courroies qui longent les zips (car il faut éviter de ne pas coudre la courroie à l'extérieur, là où on va coudre une boucle d'étagère!)
- Toutes les lignes de coupe et toutes les lignes de coutures. Toutes!

Position des courroies verticales et des étagères.
Position des courroies verticales et des étagères.

6 - Coudre le plafond. Épingler plafond et corps, extérieurs des laizes vers l'intérieur. Couture droite proche du bord (~1/8"), et ensuite inverser la pièce, épingler pour aplatir, et deuxième couture, de manière à consommer l'interlaize (0.5"). C'est une bonne idée de commencer par le milieu de l'arrière du plafond, afin d'être sûr d'aboutir au bon endroit aux deux autres bouts.

7 - Coudre les zips, en commençant par en haut au milieu, afin d'être sûr de ne pas manquer de tissu. D'abord, fermer les zips, et coudre de #1 vers le bas (voir photo ci-bas), pour les deux zips. Ensuite, ouvrir les zips et finir de coudre vers leur point de jonction. Attention de ne pas faire comme en #2, où le bout d'un zip gène la fermeture de l'autre. Soit couper ces bouts, soit les faire écarter loin du point de jonction, comme #3. Ne pas oublier de faire la première couture «à l'envers», puis de repasser pour la deuxième «à l'endroit» (sur la photo il n'y a qu'une couture).

Deux zips qui se rejoignent au centre.
Deux zips qui se rejoignent au centre.

Coudre le côté du zip sur le toit et le corps, avant de coudre le côté qui est sur la languette.

8 - Faire couture de renfort le long des zips. Bloquer le bas des zips (Ceux que j'ai utilisé étaient séparables, même si ce n'est pas ça que je voulais.) J'ai juste cousu aller-retour au-travers du zip (doucement, pour ne pas casser l'aiguille).

9 - Coudre le plancher/languette. Il faut que le plancher/languette soit un peu plus long que nécessaire, car quand on arrive au milieu du fond du plancher (on part d'en haut et d'en avant du polochon, et on finit la couture au bas et à l'arrière), ça arrive biaisé (par au moins un pouce). Faire couture de renfort pour tout ça. (La dernière fois, il me restait 11.5" d'un côté, et 10.5" de l'autre, mais je pense que j'avais alloué encore plus de longueur supplémentaire pour la languette, sans noter exactement quel supplément j'avais mis.)

À partir d'ici, la poche en tant que telle est terminée.


10 - Coudre les deux sangles verticales arrières. Prendre la sangle en vrac, épingler en commençant par le plancher, commencer un trait de couture au plancher, remonter vers le plafond, environ à 1" du plafond, tourner et revenir vers le bas. (Bénir le Seigneur que la position de la sangle soit bien identifiée!) Coudre le renfort de boucle de suspension. (Ce renfort n'est qu'une deuxième épaisseur de la même sangle, cousue à l'intérieur de la boucle de suspension même, pour protéger contre l'usure, et pour aider à tenir la boucle ouverte, ce qui facilite l'accrochage.) Ensuite, couper la sangle en vrac en laissant assez de sangle pour former la boucle de suspension (environ 4" de couture devrait suffire), replier en bonne position et coudre de l'intérieur du sac, en essayant de se rapprocher le plus du bord du sac, sans trop se soucier du fait qu'on ne peut jamais aller parfaitement jusqu'au bord.

Couture de la boucle de suspension, partie faite de l'intérieur du sac.
Couture de la boucle de suspension, partie faite de l'intérieur du sac.

Attention! Il faut vraiment tirer sur le tissu et faire des efforts pour bien le positionner, car il est facile de coudre des choses qu'on ne devrait pas! (C'est un gros motton de tissu difficile à manoeuvrer!). Ensuite, coudre la boucle de suspension à l'extérieur, sur la grosse couture (voir photo ci-bas). En cousant à l'extérieur, c'est solide, et assez facile (avec une machine puissante).

Couture de la boucle de suspension, partie faite de l'extérieur du sac.
Couture de la boucle de suspension, partie faite de l'extérieur du sac.

Erreur à éviter: tenter de couper la sangle en vrac à la bonne longueur avant de la coudre sur le sac: après avoir cousu, il m'en manquait 0.75".

11 - Coudre les deux sangles verticales du devant. Pour celles-là, il faut coudre 2" de chaque côté de là où chaque boucle d'étagère va être cousue. Donc des intervalles de 4" de long, suivies d'environ 3" pas cousu (pour faire passer la paracorde pour fermeture d'urgence, etc.). Cette foire d'intervalles est plus facile à faire si on met des épingles qui indiquent chaque transition entre couture et non-couture, et une à l'intérieur de chaque plage où il faut coudre. (Voir photo ci-bas.)

Plages de couture et de non-couture indiquées par épingles.
Plages de couture et de non-couture indiquées par épingles.

Bien sûr, repasser plusieurs fois la couture qui borde le côté pas cousu. Aussi, un petit carton de 2" rend facile l'épinglage de où on commence et où on arrête.

Petit carton avec intervalles fréquentes.
Petit carton avec intervalles fréquentes.

12 - Coudre les 16 boucles d'étagère (en fait, on pourrait en mettre encore plus, mais moi je ne veux que 4 étagères). Sangle noire, longueur à plat de 0.75" pour la boucle, 1" de plus pour la couture.

13 - Poignées d'extrémités. Sangle 2" de 9" de long, cousue de 1" à chaque bout, mais lorsque cousu, c'est 7" d'une extrémité à l'autre (pour laisser de la place pour la main). Tout ça à 2" du devant.

14 - Grosses poignées de côtés. Sangle 2". Mesurer 12" du plancher, 2" du devant, et 12" du plafond, 2" du devant. Coudre 6", laisser 32" de sangle, et recoudre.

15 - Couper des étagères de 17x17". Faire des coins ronds à la scie, et bien sabler toutes arêtes. L'étagère du haut en contreplaqué 0.5", les autres en 0.25". Poser avec courroies de nylon («zap-straps»).

16 - Rendre gloire à Dieu!

5) Erreurs

La prochaine fois que j'en fabrique un, je vais prolonger les quatre courroies sur lesquelles sont fixées les étagères, et qui forment les quatre boucles du haut pour l'accrochage vertical. Je vais les prolonger pour qu'elles fassent le tour «par en bas», en d'autres mots que le «plancher» soit entièrement retenu par ces courroies. Je pourrai donc éviter de fixer le contreplaqué du «plancher»; il sera simplement déposé au fond.

6) Annexe: Crochets de la «pieuvre»

Crochet de la «pieuvre», vue trois-quarts.
Crochet de la «pieuvre», vue trois-quarts.

Lorsque le polochon est en «mode camping», c'est-à-dire accroché à une branche d'arbre, ou à un clou sur le mur d'une grange, etc., il est très commode d'avoir quatre petits crochets au quatre coins. Cela permet d'éviter de poser des objets par terre, où ils se saliraient et se mouilleraient, et en plus cela évite de nous pencher pour les saisir.

Ils sont faits de broche bien ordinaire (un cintre métallique coupé et plié). Comme ils sont détachables, ils ne risquent pas de se briser ou de briser quelque chose lorsqu'on envoie le polochon dans la soute à baggages de l'avion. Le crochet en tant que tel est assez profond, pour pouvoir accrocher plusieurs choses à la fois.

Crochet de la «pieuvre», vue de haut.
Crochet de la «pieuvre», vue de haut.

Remarquez la «pince» formée dans le haut du crochet, dans la photo ci-haut. Elle doit serrer la sangle, pour que le crochet reste à sa place quand on décroche un objet. Remarquez aussi le petit bout plié, pour que le crochet n'ai pas tendance à se décrocher de la sangle. Remarquez enfin les bouts de la broche qui sont soigneusement limés, pour éviter de couper ou déchirer quoi que ce soit.

Crochet de la «pieuvre», vue de face.
Crochet de la «pieuvre», vue de face.

Erreur N° 1: crochets faits avec des maillons de chaîne coupés et meulés. Trop lourds, pas amovibles. De plus, à partir du moment où la corde de la pieuvre tient les 4 boucles de suspension directement, les crochets sur lequels on accroche les pantalons et autres accessoires n'ont plus besoin de soutenir tout le polochon. Ils peuvent devenir de purs crochets d'accessoire, donc être légers. Un crochet ouvert devra toujours être très gros et lourd s'il doit porter tout le polochon. Et on n'a pas souvent besoin d'accrocher et de décrocher les cordes de la pieuvre. En d'autre mots, ne pas interposer le crochet entre la boucle de suspension et la pieuvre.

Erreur N° 2: crochets non-interposés entre le crochet entre la boucle de suspension et la pieuvre, mais de forme assez ordinaire. Ils avaient tendance à «suivre» l'objet qu'on tentait de décrocher, donc on essayait de décrocher, et il fallait prendre l'autre main pour tenir le crochet pour qu'il se tienne tranquille pendant qu'on décroche.

| Accueil >> Varia >> Trousse du célibataire